200V/16A快恢复二极管STTH1602C参数及替换
作者:海飞乐技术 时间:2019-04-19 09:36
200V/16A快恢复二极管STTH1602C性能与应用
STTH1602C快恢复二极管,电压200V,电流16A,TO-220封装,快恢复时间短(21ns),加快器件的开关速度,降低器件的开关损耗和提高电力电子电路的工作频率,可靠性高。可应用于低电压整流,高频转换开关,开关电源、高频直流转换器、续流和极性保护等。
200V/16A快恢复二极管STTH1602C特点
适合SMP
低开关损耗
低正向和反向恢复时间
绝缘包装:TO-220
绝缘电压:2000 Vrms
结温度高
低泄漏电流
200V/16A快恢复二极管STTH1602C主要参数
制造商: STMicroelectronics
产品种类: 整流器
RoHS: 符合
安装风格: Through Hole
封装/箱体: TO-220FP-3
Vr - 反向电压 : 200 V
If - 正向电流: 20 A
类型: Fast Recovery Rectifiers
配置: Dual Common Cathode
Vf - 正向电压: 1.25 V
最大浪涌电流: 80 A
Ir - 反向电流 : 6 uA
恢复时间: 21 ns
最大工作温度: + 175℃
系列: STTH1602C
封装: Tube
高度: 9.3 mm (Max)
长度: 10.4 mm (Max)
产品: Rectifiers
端接类型: Through Hole
宽度: 4.6 mm (Max)
商标: STMicroelectronics
Pd-功率耗散: -
产品类型: Rectifiers
工厂包装数量: 50
子类别: Diodes & Rectifiers
单位重量: 2.300 g
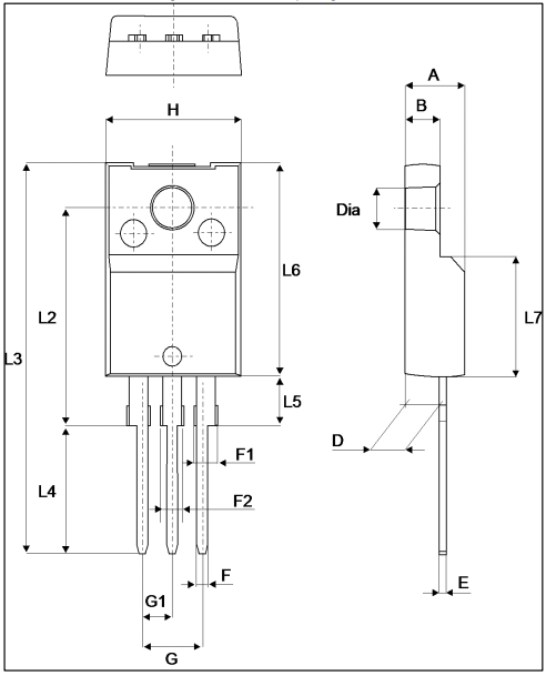
STTH1602C封装结构与尺寸图
STTH1602C替换资料
海飞乐技术200V16A快恢复二极管替换STTH1602C,我司产品采用台湾芯片及先进的工艺技术封装,为您提供优质、高效的可完全替换产品,和国外进口产品相比,我司产品具有货期短、性价比高等优点。更多相关产品资料请联系我司客服,我们期待您的咨询与合作!
上一篇:600A400V快恢复二极管模块
下一篇:16A/200V快恢复二极管MURF1620CT参数及替换

