碳化硅肖特基二极管的静态特性及应用
1. 静态特性
具有功率因数校正(PFC)的离线开关型电源(SMPS),其输入级通常需要额定值在500~600V范围的器件。因此,为了在高频下工作,需要用到比最高阻断电压只有250V的硅(Si)和砷化镓(GaAs)二极管具有更高阻断能力的肖特基二极管。Si和GaAs肖特基二极管的其他不足是:
①泄漏电流高,尤其是在高温时,反向损耗变得可与正向损耗相比拟。
②单位面积的导通电阻随击穿电压呈指数函数V2.5br而迅速增加。
③芯片尺寸增大,反向损耗也增加,因为反向损耗是芯片面积、Vbr和Tj(结温度)的函数。
碳化硅(SIC)属于所谓宽禁带半导体,所以SIC肖特基二极管的工作电压可以超过1000V。这是由SIC材料相关的独特优点决定的。即:
①泄漏电流小,是因为它的金属-半导体势垒高,是Si的2倍。
②泄漏电流不会急剧增加,因为采用目前的商用封装远达不到它的最高结温,这是SIC的固有性质决定的。
③相对于Si和GaAs肖特基二极管来说,SIC肖特基二极管的比遍态电阻更小,因为SiC的击穿场强高出10倍,
④高密度高,于是允许用得小的芯片面职,因为它的热导率比Si高,是Si的3倍,可与铜相比。
图1示出不同半导体的肖特基二软管的最小比通态电阻与予期阻断电压的关系(只比较漂移区特性,而忽略衬底对电阻率的贡献)。各条直线的末端分别表明各种半导体的可用电压范围。
SiC肖特基二极管在高额定电压下具有低的比通态电阻。图2示出高达225℃时600V SIC肖特基二极管的典型正向特性和阻断特性。与Si和GaAs肖特基二极管不同,随着温度升高,其泄漏电流只稍有增加。600V SIC肖特基二极管的比通态微分电阻由室温的0.9mΩ·cm2增加到150℃时的1.8mΩ·cm2。该正温度系数使其肖特基二极管很适合并联工作而没有热逸走的危险。


图2 600V SiC肖特基二极管的正向特性和阻断特性
2. 动态特征
当SIC肖特基二极管关断时,不像pn结二极管要从n区扫出过剩载流子,因此没有反向恢复电流,只有为二极管的结电容充电的位移电流。对于恢复换向而言,在具有高di/dt的很高频率下,电流瞬态只取决于外部开关速度。
由位移电流迁入的电荷远比pin二极管的反向恢复电荷Qrr少,而这些电荷的起源不同,我们命名它为电容性电荷Qrr。
图3比较了SIC肖特基二极管和标准Si二极管。Si pin双二极管(采用在同一封装中串联2只300V器件)比一个600V超快速Si pin标准二极管有更好的反向电流,但正向压降却高得多。SIC肖特基的电容性电荷(Qc)和开关功耗比Si超快速二极管低很多,而且Si二极管的功耗强烈地取决于di/dt、电流水平和温度;SiC二极管却几乎与这些边界条件无关。在相同标尺下与标准Si二极管比较,就不会看到Qc与这些参会有什么关系。再有,这是因为在反方向,该器件表现出类电容的行为所致。
图4示出在不同开关条件下,6A/600VSIC肖特基二极管的电容性反向电荷Qc。为了比较还给出标准Si二极管的Qrr值,图中IF是各器件的额定正向电流。

图3 SIC二极管和标准Si二极管的开关特性比较(在Tj= 125℃, VDC=400V, It=6A,di/dt=200A/μs时开关特性的比较)

图4 6A/600V SiC肖特基二极管的电容反向电荷Qc
①开关型电源(SMPS)的功率因数校正(PFC)电路(Boost变换器)。
②二次侧整流(SMPS输出电压的整流)。
国际标准不断推动和迅速提高对PFC的要求,Boost变换器的使用又帮助其实现有源PFC。其中可用间断电流方式(DCM)和连续电流方式(CCM)来驱动。用DCM方案无需使用超快速二极管,但它的缺点是:
①需要用很大的电路元件,因为有很高的峰值电流。
②在轻载时系统不稳定。
③需要复杂的EMI滤波系统。
采用CCM方案没有上述缺点。与DCM相比,它不需要大的电路元件,轻载时系统工作稳定,且不要求EML滤波器。但是,当使用普通的或超快速硅pn结二极管时,CCMBoost变换器的效率和开关频率就明显受限于MOSFET的功耗和二极管的反向恢复特性。
由于SIC肖特基二极管没有显示反向恢复行为,其开通瞬间的电流尖峰很低,因而降低了MOSFET的应力。这样,可以选用不太昂贵的MOSFET,而同时又使整个系统达到很高的可靠性。由于总开关功耗很低,其效率实质上与频率无关,这是非常理想地适用于CCM(见图5)的情况。Boost变换器因此可在很高频率下工作。Boost电感器尺寸的减小又提高了功率密度的水平,相应地还大大降低了电感器的成本。
一般情况下,电磁干扰(EMI)的控制是从150kHz开始的,Boost变换器的主谐波在此频率之下的影响不大,在较高开关频率时要达到EMI标准就比较复杂。图6示出典型的电流补偿双扼流圈电感器的阻抗随频率的变化。正如图6所示,在300kHz~IMHz以上的频率范围,滤波器具有最大阻抗(最高阻尼效率)。运转在300-500kHz之间的Boost变换器的主要谐波和高次谐波被最大效率地滤掉。因此,开关频率从300kHz增到500kHz不需附加EMI滤波;而且,甚至还可能降低电嗓音。这些性质可立即给设计者提供一种优化的PFC应用的方法。即:
①提开关频率。
②减小诸如电感器等无源元件的尺寸。
③缩小半导体开关的尺寸。
④缩小或取消散热器。
⑤提高可靠性。
⑥高功率密度。
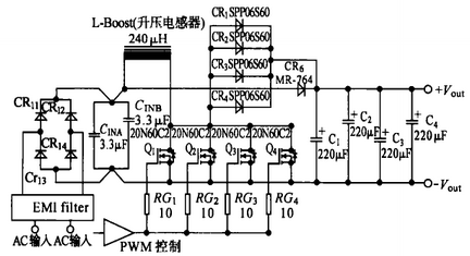
采用SIC二极管可使Boost变换器的电路形式简化而又有很好的高频特性,图7示出使用SiC二极管的2000WPFC的基本电路。图中并联4个6A器件作Boost变换器。为了便于该变换器的测试,这些器件采用分立封装,与该实验测试电路相比,采用双芯片器件可以减少所需的封装数量。
显然,若用硅二极管就不能用图7所示的并联电路来工作,而用SIC肖特基二极管却是可行的。因为它与MOSFET相似,同是单极器件,没有注入载流子的电导调制作用,并且在电流热点Q(2A)以上呈现正向电压的正温度系数。图8示出2A以上随温度升高正向电压也相应增大的特性。这表明并联器件之间有局部热反馈机制和固有的电流平衡能力。
该电路行为的另一层涵义涉及到浪涌电流,因为没有注入载流子或电导调制,随着电流和温度的增加,使得功耗随正向电压的增加而线性上升。这表明其浪涌容量低于pn结二极管。在为满足瞬态条件下确定Boost整流器的容量大小时,就需要考虑这个特性。当峰值电流超过10ms或100ms下的正常允许值时,一些实例也表明其处于下限。
碳化硅材料有极好的热性能,包括接近铜的热导率。但是,数倍于正常电流的功耗也会引起热击穿。它在10ms下,正弦半波的浪涌电流容量大约是额定连续正向电流的3倍。
4. 二次侧整流
设有48V输出电压(电信用)的SMPS在二次侧需要250~300V额定整流器。在主变频器采用较高开关频率的趋势下,与二次侧仍沿用目前动态特性很差的硅二极管形成鲜明的反差。当前商品化的GaAs肖特基二极管只能有250V阻断电压,若用SIC肖特基二极管取代GaAs更为有益,因为前者的泄漏电流小得多,而且温度对该泄漏电流的影响很小,较高的阻断能力(300V取代250V)还可改善可靠性,而且成本较低。
上一篇:共阴极肖特基二极管的热阻测试方法
下一篇:碳化硅肖特基二极管在逆变器电路中的应用优势

