400A/100V肖特基二极管
作者:海飞乐技术 时间:2019-08-20 17:35

400A/100V肖特基二极管性能与应用
肖特基二极管不是利用P型半导体与N型半导体接触形成PN结原理制作的,而是利用金属与半导体接触形成的金属-半导体结原理制作的。因此,SBD也称为金属-半导体(接触)二极管或表面势垒二极管。
海飞乐技术400A/100V肖特基二极管,有不同的封装形式,产品具有关断过程快,开关损耗小、高速开关等优良特性,应用于开关电源和保护电路中,可以降低功耗,提高电路效率和使用频率,减少电路噪声。
400A/100V肖特基二极管特点
反向恢复电压:Vrrm=100V
低正向电压降:VF(typ.)=0.4V
平均正向电流:IF(AV.)=200A @Tc=100℃
超快速反向恢复时间:Trr(typ.)=80ns
减少电磁干扰与开关损耗
非绝缘型封装
400A/100V肖特基二极管应用
逆变焊机
不间断电源
开关电源
电机驱动
大功率转换器
400A/100V肖特基二极管主要参数
400A/100V肖特基二极管电气特性
400A/100V肖特基二极管特性曲线图
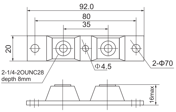
400A/100V肖特基二极管封装结构与尺寸图
肖特基二极管工作特性:
1.正向性:外加正向电压时,在正向特性的起始部分,正向电压很小,不足以克服PN结内电场得阻挡作用,正向电流几乎为零,这一段称为死区。这个不能使二极管导通的正向电压称为死区电压。当正向电压大于死区电压以后,PN结内电场被克服,二极管导通,电流随电压增大而迅速上升。在正常使用的电流范围内,导通时二极管的端电压几乎维持不变,这个电压称为二极管的正向电压。
2.反向特性:外加反向电压不超过一定范围时,通过二极管的电流是少数载流子漂移运动所形成反向电流,由于反向电流很小,二极管处于截止状态。这个反向电流又称为反向饱和电流或漏电流,二极管的反向饱和电流受温度影响很大。
海飞乐技术400A/100V肖特基二极管采用台湾芯片及先进的工艺技术封装,为您提供优质、高效的产品,和国外产品相比,我司的该款产品具有货期短、性价比高等优点。更多相关产品资料请联系我司客服,我们期待您的咨询与合作!
上一篇:300A/100V肖特基二极管
下一篇:200A/300V肖特基二极管

